Új hozzászólás Aktív témák
-
bodnarg
csendes tag
-
Szirty
őstag
válasz
bodnarg
#5093
üzenetére
Szia BG!
Mazsika megoldási elve teljesen jó, bár eltévesztette, mert 3 helyiértékhez modulo 1000 kell nem 100.
Utólagos engedelmével példaprogramot írtam a megoldására. Ime:L DB1.DBD 0
L L#10
/D
L L#1000
MOD
T MW 0Létrában:
Mindkét példa a DB1.DBD0 dupla egész változóban fogadja a szétcincálandó változót (a tartalmán nem változtat) és MW0 integrbe kerül bele a 2-4 helyiértékről leválasztott érték.
A létra felhasznál egy DINT típusű #TMP nevű változót. -
bodnarg
csendes tag
Sziasztok!
Egy kis segítséget szeretnék kérni, valami frappáns megoldás/ javaslat képében a következő problémára. S7 315 CPU ban futó programhoz.
Adott egy gépsoron 10 számjegyből álló recept azonosító. A receptazonosító DI-ként van kezelve, a programban. Az azonosító bizonyos helyi értékein lévő számok, információ tartalmát kellene kiértékelnem. Alapvetően xxxxxx011x vagy xxxxxx012x formátumok lehetnek. Azt az esetét kellene vizsgálnom amikor a a 4-2 helyiértéken a 011 szám szerepel, az aktuális receptúrában, és abban az esetben ha ez a feltétel igaz végrehajtani bizonyos utasításokat.
Van valami ötletetek hogy tudnám ezt megoldani? Vagy találkoztatok már valahol ehhez hasonló mintaprogival ? (Siemens support FAQ)Köszönettel: BG
-
Dezsi82
tag
válasz
Achilles83
#5090
üzenetére
Szia!
Ennel a kártyánál a full scale 4000, vagyis 0-nál a konverziós érték alsó értéke, 4000-nél a felső érték lesz. 4096 túl magas érték, ettől függetlenül lehet működik. Tehát ha a kártyád 0-10V-ra van beállítva (lehetne 1-5V,4-20 mA, 0-5 V, vagy +-10V is), akkor 4000-nél 10V, 2000-nél 5 V. Ezt különben az adatlapja adja meg. -
Szirty
őstag
válasz
Achilles83
#5090
üzenetére
Helló Achilles83!
Ha a kimenetet nem lehet (hardveresen) skálázni, akkor sehogy. Ha 10V lesz 4096-nál, akkor 2048-nál lesz 5V nem 2000-nél. Ez adódik az D/A felbontásából.
Ha másmilyen hozzárendelést szeretnél, akkor skálázni kell. Ha hardveresen nem lehet, akkor szoftveresem a PLC programban.
Ezt rendszerint szokták is, hogy a programban a fizikai mennyiséggel lehessen számolni ne a konverziós értékkel. Pl. ha az analóg kimenet egy propszelepet vezérel, akkor lehet %-ra skálázni. Könnyebb kezelni a programban (és főleg a kijelzőn ha van). -
Achilles83
csendes tag
-
Onishi
tag
Szia!
Köszi, sikerült. Viszont a hálózaton eléréssel nem akart összejönni, mert az 1.HMI használta a fájlt, így a 2.HMI nem tudta azt megnyitni. Ezt egy scripttel küszöböltem ki, amit elindítva először a log fájlt átmásolja a gépre, majd utána indítja a runtime-ot. Így már frankón működik.
Boldog Új Évet Kívánok minden kedves fórumtársnak!
-
Szirty
őstag
Szevasz Onishi!
Úgy látom ennek megvalósítása nem különösképpen problémás. Meg kell oldanod, hogy a 2. HMI el tudja érni az 1. HMI által gyártott log file-t. Pl. hálózati kapcsolaton keresztül átmásolod, vagy file megosztáson keresztül hivatkozol rá.
Ezután a 2. HMI-ben létrehozol annyi internal TAG-et azonos néven és adattípussal, amennyi a logban van.
A 2. HMI-ben csinálsz egy data log-ot ugyanolyan néven, elérési útnak pedig megadod annak a log file-nak az elérését, amit az 1. HMI hozott létre.
Ezután leraksz egy trend-et, a trend típusát beállítod "Log"-ra a trend forrásánál megadod az imént létrehozott log nevét, és a logban lévő változó nevét.A trendhez beállítod a megfelelő X és Y skálákat és értelemszerűen bekapcsolod a kezelő gombok megjelenítését, esetleg a mérőkurzort ízlés szerint.
-
Onishi
tag
Sziasztok!
WinCC Flex-ben, hogyan lehet megoldani azt, hogy az egyik runtime által készített log fájlt, egy másik runtime trendjén megjeleníteni?
Adott két gép, az egyiken folyamatosan fut egy runtime, amely menti csv fájlba az adatokat. Illetve van egy másik gép, ahol nem mindig fut a runtime, csak néha kapcsolják be és néznek rá, de akkor kellene látni a másik gép által korábban logolt adatokat is. A 2. HMI az 1. HMI adatait HTTP kapcsolaton keresztül éri el, viszont a logolást nem tudom hogy lehetne átvinni. -
Szirty
őstag
válasz
miclucky
#5082
üzenetére
Helló miclucky!
Az ET200S CPU egy S7-300 CPU funkcionalitását integrálja a terepei I/O szigetbe.
A sebessége (teljesítménye) és az utasításkészlete megfelel egy S7-300-as CPU-nak (mivel valójában az is, kiegészítve egy kis HW-el, ami az ET200S miatt szükséges.SIMATIC ET 200S Interface Modules
ET 200S distributed I/O IM 151-8 PN/DP CPU interface module Operating Instructions (14. oldal)
SIMATIC ET 200 For distributed automation solutions SIMATIC Distributed I/O (60. oldal) -
Szirty
őstag
válasz
miclucky
#5079
üzenetére
Üdv miclucky!
"Érdekességképpen a régebbi részeket egy S5-115 943B cpu viszi AS-i net-es megoldással, ezt minden zokszó nélkül le lehetett menteni, igaz ez STEP5"
Én meg pont egy ilyennel jártam úgy (egy olasz műanyag ipari gépben van) hogy lementeni le lehetett ugyan a programot, de monitorozni nem. Minden kísérlet "Incorrect PLC ansver" hibát eredményezett.
Step5 sem volt hajlandó rá, S5Win sem.Néha belefut az ember ilyesmibe ha nincs forrás project,..
-
miclucky
tag
Az 1200-as úgy jön ide, ahogy a 300-as
.Végig ET200S CPU -ról volt szó.
A programfejlesztőnek megszűnt az állása (gyárbezárás)..... A gyártósor Franciaországból jött (csak engem elfelejtettek kiküldeni, lehet találtam volna valamit a porosodó laptopokon vagy a hálózaton).
Még ha csak a kommentek hiányoznának, a legnagyobb baj, hogy nem tudom lementeni normálisan a programot, az abszolút címet(ami kevés látszik a prog-ban) sem listázza a cross-refben(I Love TIA vagy lehet vmi mással programozta?! nem értettem azt se teljesen, hogy miért van pár db. Pro-Face HMI a rendszerben). Érdekességképpen a régebbi részeket egy S5-115 943B cpu viszi AS-i net-es megoldással, ezt minden zokszó nélkül le lehetett menteni, igaz ez STEP5.

-
Szirty
őstag
válasz
miclucky
#5077
üzenetére
Üdv miclucky!
"igazad van,de az 1200-as széria tárolja a szimbi táblát is"
Igaz, de itt végig S7-300-ról volt szó, ami viszont nem. Hogy jön ide az S7-1200?
"A keresztref. generálása után sem a bemeneteket, sem pedig a merkereket nem listázza, csak a DB-ket."
Tudni kell, hogy a keresztreferencia csak és kizárólag az abszolút címeket képes kilistázni. Az indirekt címzéseket természetesen nem, mivel azok futás közben (run time) derülnek ki.
Ez így volt eddig is, így van most is, és ezután is így lesz.
Az kétségtelen, hogy nagy szívás ha egy géphez nincs forrás project és csak a gépről letöltött program áll rendelkezésre. Ez egy ilyen dolog, ám ez a körülmény a programfejlesztőt minősíti...
-
miclucky
tag
igazad van,de az 1200-as széria tárolja a szimbi táblát is(ez meg ET200s)
. Ez esetben a fő probléma, hogy a lementett progi csak pár inputot,merkert és DB-t tartalmaz, de kimenetet pl. nem. A keresztref. generálása után sem a bemeneteket, sem pedig a merkereket nem listázza, csak a DB-ket.
A Siemens jövőre ígért állásfoglalást, majd beszámolok róla.
Addig is kellemes ünnepeket Mindenkinek.
üdv
lucky -
Szirty
őstag
válasz
miclucky
#5073
üzenetére
Helló miclucky!
"nem hiszed vagy tudod is?"
Miért kérdezed? Mit írtam oda? :-)
"egyik sem tölti le a tag-eket, nincs cross-ref"
Nem is lesz. A symbol táblát (tag list) a 300-as nem tárolja (nincs s szükség rá a program futtatásához).
A kereszt referenciákat sem tárolja, azt a fejlesztői környezet generálja bármikor, amikor akarod. -
byte-by
tag
halo !
ez így van.
csak jelzés értékű volt, az elmentett programokkal kapcsolatban.
a példám alapján pedig arra gondolok , hogy esetleg valami csavar folytán mégis simatic managger-el programozták a kritikus programot.
de persze ez csak találgatás, tudom , hogy pl. mást ír ki. -
byte-by
tag
válasz
miclucky
#5069
üzenetére
halo.
a simatic manager és a tia más és más kiterjesztésű file-t hoz létre.
a kettő nem átjárható.
egyébként akkor is van letöltés tia-ban, ha simaticban van írva és ki is zöldül, de én nem tudtam elmenteni sem például.
a fa struktúra legalább is képes megjelenni.
de olyan is van (nálunk van ilyen gép) ahol a plc program simatic manager-el van írva ( kiterjesztés: .s7p )
a hmi tia-val van írva. (kiterjesztés : ap12)
lehet még probléma a v11 verzióval - lehet azt a verziót keresi amelyikkle írták - de v12 sp1-től jobb és stabilabb.
de egyébként is sok jó dolog van benne , persze erős gép kell hozzá.byte
-
miclucky
tag
hi,
nem hiszed vagy tudod is? (örülnék ha működne valahogy a dolog ,mert ez a TIA egy elég elcseszett dolognak tűnik a step7-hez képest)
step7 upload station to pg egyből reklamál, hogy tia-val írták és választhatom a kilépést.
Beszéltem pár TIA-val programozó emberkével, akik ezt megerősítették. De holnap rákérdezek a Siemensnél. -
tdanka
újonc
válasz
byte-by
#5050
üzenetére
Sziasztok.
Köszönöm mindenkinek a váaszt.
Úgy tűnik megoldódott a probléma(részben).
A program feltöltéskor rögtön a flash memóriába töltődik,de a boot aplikációt kézzel kell hozzátölteni.Ha nincs boot nem tud felfutni a plc,Nekem felbootolt induláskor,de nem teljesen,ezért lehetett az a kis felejtés.
A boot-ot háromszor raktam fel egymás után,és így sikerült elérnem,hogy felfusson a plc,és miden előző beállítás is megmaradjon.Amit még nem tudok,az az hogy miért indul még most is stop-ban a plc.Ezt is kiküszöböltem,úgy hogy az egyik bemenettel indulás után startolom,egy időrelé segítségével. -
Szirty
őstag
Helló And!
Kb. ezzel játszottam én is. Fel kellett építeni a HW konfigurációt újra a GSD-k beszerzése után.
Sajnos volt pár kb 10 éves LIKA gyártmányú (olasz) pofibuszos abszolút jeladó is rajta. Ma már nem gyártják, és a gyártónál nincsenek régi anyagok, csak újak.
Szerencsére az új GSD-jével is összejött, a CLASS1-es busz kezelésen nem fejlesztettek. Egy Lenze szervó azonban megszivatott. Volt GSD hozzá, de olyan sokféle varációban konfigolható, hogy nehéz volt kitalálni melyik a nyerő. -
And
veterán
-
Szirty
őstag
Üdv!
Ha valaki ilyen helyzetbe kerülne:
Siemens S7-300-assal működő profibuszos gép közelébe kerül, amelyhez nincs forrás project, csak az ami a PLC-ről letölthető.
Letölti a teljes tartalmát HW configgal, system DB-vel, adat és program blokkokkal, mindennel együtt (upload station to PG). És a rendszerben olyan (mellesleg működő) DP eszközök vannak, amiket a számítógépen lévő fejlesztői környezet (Step 7) nem ismer, mert nincs GSD telepítve hozzá.Akkor gondolja meg alaposan hogy visszatölti a PLC-re a HW configot ha ennek igénye merülne fel!
-
Szirty
őstag
válasz
miclucky
#5059
üzenetére
Helló miclucky!
"A fent említett vezérlőhöz nincs projekt file-om és step7 v5.5 uploadra kattintva közölte velem, hogy ezt bizony valami új csodával programozták ,melynek neve TIA."
Erről van szó?:
IM151-8 PN/DP CPU Interface Module for ET 200S Released for Delivery
IM151-8 PN/DP CPU
6ES7151-8AB00-0AB0Ha igen, ez programozható STEP7-el is.
Idézet a Siemens WEB oldaláról:"STEP 7
The new CPU can be configured with STEP 7 version 5.4 SP4 and higher.
Configuration of the CPU with older STEP7 versions is not possible." -
miclucky
tag
Hi Siemens Guruk

Sajnos tegnap találkoztam egy ET200S (151-8) csodával, ehhez kérnék pár tippet,mivel az elmúlt évtized során csak Omron ill.s7-200-as plc-kkel foglalkoztam ill. nagyon régen s7-300 (de step7-tel programozva).
A fent említett vezérlőhöz nincs projekt file-om és step7 v5.5 uploadra kattintva közölte velem, hogy ezt bizony valami új csodával programozták ,melynek neve TIA. A profinetes rendszerben van még két ET200s I/0 blokk meg x ktp600 hmi.
El kezdtem ismerkedni a TIA-val (első benyomás: katasztrofális!!! szörnyű lassú ,hiába nyóc mag meg 16 liba, mindig csak homokóra, meg nem válaszol).
A plc-ről a programot le tudtam menteni(bár kommentek és hardver konfig nélkül), de a hálózati szkennelésre nem sikerült rájönnöm, ehhez kérnék pár tippet.
Továbbá a programot monitorozni sem engedte annak ellenére,hogy minden pötty zöld (monitor ikon szürke).köszönettel:
luckyui: V11-es verzióval próbálkoztam, esetleg megpróbálom V13-sal is
-
natec
tag
A számítógép LAN kártyáját állítsuk IP cím automatikus kérése üzemmódra (DHCP) a WIFI -t kapcsoljuk ki. Kapcsoljuk ki a számítógépet, hogy bekapcsolás után ne tudjon csatlakozni semilyen hálózathoz és ne tudjon felvenni semilyen IP címet. Kössük össze a PLC -t és számítógépet Ethernet kábellel, kapcsoljuk be a PLC -t. Kapcsoljuk be a számítógépet, Indítsuk el a CX-Programmert project nélkül. Kattintsunk a felső iconsorban található CP1L-Ethernet Online ikonra a megnyíló ablakban jelöljük be a HAB Connectiont és nyomjuk meg a Browsw gombot. A megnyíló ablakban látható a csatlakoztatott PLC IP címe jelöljük ki a fenti sort, hogy elkéküljön a sor háttere majd kattintsunk az OK gombra. A visszatérő ablakban bemásolódik a PLC IP címe és csatlakozzunk (Connect).
Nekem egyenes és kereszt kábellel is működik a kapcsolódás. -
Peddy789
őstag
Helo,
S7-300 és Zenon között szeretnék kapcsolatot felépíteni, ethernetenStep 7-ben bekell állítani valamit?
Zenonban a projektet és változokat már megtudtam nyitni, viszont a drivers-nél nemtudom pontosan miket kéne megadni, pl az ip cím a plc ip címe? Mi az a Net szám valyon? Vagy valami uj kapcsolatot kéne létrehozni? Találtam valamit a neten hogy netconfogban meglehet adni step7ben egy s7-kapcsolatot
Fura de nem nagyon találok semmi használható klikk by klikk guidot, meg uyg semmi normálisat, hogy pontosan mik kellenek zenon - s7-300 viszonylatban
Zenon 6.51
Jahn az alap probléma hogy nem változik zenonban a változó állapota hiába billegtetem a plc-n -
byte-by
tag
halo.
a siemens-nél is van copy ram to rom. vagy memória kártyára is lehet másolni.
nyílván ha beilleszettük a programot a megfelelő helyre, akkor az elemtől függetlenül eltünni nem fog.
nem minden gyártónál kell "beégetni".
még az is elképzelehető, hogy érdemes lenne újra visszaállítani a gyári default beállításokat.pont a megnevezett plc többszintű memóriájával (vagy ennek kezelő utasításával, vagy felületével) kapcsolatban jegyeztem meg, hogy esetleg nem-e lehetséges ,hogy ott a probléma, azzal együtt, hogy nem ismerem a schneidert.
byte
-
And
veterán
válasz
byte-by
#5050
üzenetére
"az elem tudtommal nem a programot védi ( pont mert az általában nem felejtő területen van , vagy memóriakártyán is szinte kivétel nélkül minden plc-ben)"
(A kérdéses PLC-családot ugyan nem ismerem, de akad olyan sorozat Schneider-éknél (pl. a Twido), amelyiken van ugyan nem felejtő programtár, de a program csak kérésre kerül oda (backup). Alapjában ez a funkció be van kapcsolva, első letöltéskor - és utána is minden online módosítás után - elvégzi ezt a backup-ot, de ha ezt letiltják, vagy offline-ba váltáskor a feltett kérdésre nemmel válaszolnak, akkor a teljes program vagy az online végrehajtott változtatás csak a RAM-ban marad, és kikapcsoláskor, lemerült / hiányzó elemnél elvész. Mod.: hab a tortán, hogy ennél a sorozatnál van lehetőség az előlapi - elemhibát jelző - 'BAT' led letiltására szoftverből, de alapesetben természetesen mutatja a lemerült elemet.) -
byte-by
tag
halo!
nem igazán ismerem a shneider termékeit, ezért csak tapogatózom.
esetleg nem valmilyen flash memory peobléma van?
a manuálja ír boot applikációt is ezzel kapcsolatban.lehet rosszul értelemezem, de változtatás után ha nincs elmentve a program a flash memory-ban (területen?) akkor a következő boot-nál onnan tölt be.
az elem tudtommal nem a programot védi ( pont mert az általában nem felejtő területen van , vagy memóriakártyán is szinte kivétel nélkül minden plc-ben) hanem időzítők, számlálók, egyéb regiszterek tartalmát , illetve a szoftveres vagy hardveres óra tartalmát.
mint jeleztem sajnos nincs tapasztalatom scheider típusokkal , csak hátha...
byte
-
tdanka
újonc
Sziasztok!
Kezdő vagyok a PLC-ben,és most felerült egy elég zavaró probléma.Eddig Delta PLC-t programoztam,de most kaptam két Schneider TM258LF42DT PLC-t.A programozás sikerült,de a következő helyzettel nem tudok mit kezdeni:
Beállitottam a PLC-t a MyController-PLCSetting menüpont alatt(Somachine3.1) a start in run-ra.De ha kikapcsolom a PLC-t kb1órára,akkor stop módba indul,és törlödnek a rajta lévő beállítások.Még azok is amelyek Retain-ra,vagyis nem felejtőre voltak állítva.Már egy bemenetet is konfiguráltam amelyikkel lehet kapcsolni a run és stop-ot.Ha ezzel kapcsolom stop-ra akkor nem felejti el a Retain-okat.Már cseréltem a benne lévő elemet is,de semmi változás.
Van még egy ugyanilyen PLC-m.Itt is ugyan ez a problema lepett fel,de kb 1 hónapja már a programot is elfelejti.Áramszünet után Stopban indul,és a konfigurált bemenettel sem tudom Start-olni.Ha pedig be probalok login-olni a PLC-be a Somachine-nal,akkor pedig megkérdezi:Login with online change?Pedig nem valtoztattam a programon.
Remélem itt tud valaki segíteni. -
-
byte-by
tag
-
ADam07
csendes tag
válasz
Achilles83
#5042
üzenetére
Megpróbálom még másik géppel, hátha. Köszönöm, hogy ennyi időt rámszántál.

-
Achilles83
csendes tag
Esetleg még megpróbálhatod másik számítógéppel, másik CX-el.Egyik fórumon olvastam, hogy valakinek olyan gondja volt, hogy a számítógép kommunikációs feszültsége nem volt megfelelő, másik számítógéppel működött.Annyira nem olvastam utána de a DIP kapcsolókkal lehet, hogy lehet valami resetet csinálni.Más tippem nincsen.Bocsi

-
ADam07
csendes tag
válasz
Achilles83
#5040
üzenetére
Olvastam, hogy 40-50 órára is képes lehet életben tartani a memóriát, így biztosra mentem, 5 napra

-
ADam07
csendes tag
válasz
Achilles83
#5038
üzenetére
Nem. Az még külön fizetős cucc, meg még fel is kellene konfigurálni, amit ugye csatlakozás nélkül nem tudnék.
-
ADam07
csendes tag
válasz
Achilles83
#5036
üzenetére
Bocs, kicsit elvesztettem a fonalat. Ha jól értem akkor ehhez a megoldáshoz RS232-es porttal kellene rendelkeznem, de nekem olyan nincs.
-
ADam07
csendes tag
válasz
Achilles83
#5034
üzenetére
A kábelt kimértem, de többféle kábellel is próbáltam már.
-
Achilles83
csendes tag
Azért a kábelt is ellenőrizd, hátha történt vele valami.Ha más nem megy akkor ha jól tudom sorosan is lehet hozzá csatlakozni,(csak ahhoz lehet, hogy valamelyik DIP kapcsolót át kell kapcsolni) ha csinálsz hozzá kábelt.Ugyan lassabb lesz, de arra jó, hogy visszaállítsd az IP-t
-
ADam07
csendes tag
A Direct csatlakozáshoz elvileg nem kellene IP címet állítani. De próbálkoztam a 192.168.250.xxx tartomány beállításával is. Van Direct Ethernet Utility-m is. Ott beállítottam a hálózati kártyát és meg is jelent a segédletben leírt 169.254.xxx.xxx 255.255.0.0 . De sajnos ez sem segített.
A tűzfalat kikapcsoltam közben.
-
ADam07
csendes tag
válasz
Achilles83
#5030
üzenetére
Igen.
-
ADam07
csendes tag
Sziasztok,
egy kis segítséget szeretnék kérni tőletek. Van egy Omron CP1L-EM30DT1-D-s PLC. Ehhez a típushoz ugye etherneten keresztül tudok csatlakozni, de sajnos sehogy sem sikerül. A CX-Programmer 9.53-as verziójával próbálkozom. Elvileg lenne direkt csatlakozási lehetőség, amihez semmit sem kellene beállítanom, de sajnos nem csatlakozik. Emlékeim szerint régebben sikerült már csatlakozni rá, akkor meg is változtattam az IP címét, de sajnos már nem emlékszem , hogy mire. Az Omron oldalán található segédletet végigolvastam, az instrukciókat végig csináltam, kivettem belőle az elemet, de így sem sikerül. Esetleg ha valakinek lenne valamilyen ötlete, az megköszönném.
-
elpart
újonc
Sziasztok,
Ha valakit érdekelne ZELIO SR3 PACK2BD, vagy OMRON CP1L-L20DT1-D plc akkor írjon privátban.
-
Onishi
tag
Való igaz. Akkor anno valószínű elkapkodtam a dolog elemzését, mert azon is előjött a folyamatos adatküldés, de akkor legalább értelmes adatokat küldött, csak megállás nélkül. Az sztem valamilyen buffer töltési dolog lehetett, mivel több napot ment úgy a script előtte, hogy nem voltak a fényújságok bekapcsolva és szerintem valamilyen buffert feltöltött és utána több órán keresztül okádta magából az adatokat, amikor rákötöttem a fényújságokat, illetve a terminált.
Habár ezt nem teljesen értem, mivel ezt úgy próbáltam anno, hogy "okádás" (nem találok jobb szót rá :-)) közben leválasztottam a virtuális portot, majd a gép saját soros portját neveztem el ugyanolyan számúra és azon is "okádta" tovább. Ez valószínű egy teljesen más jelenség volt, mint a driver bekattanás, amely teljesen értelmetlen adatokat küldött.
Mindenesetre ez egy elég összetett problémakör volt, amely 3 részből állt össze:
- buffer töltés miatti sorozatos adatkiküldés
- soros-ethernet átalakító átállítódott az OpenTextFile meódussal, ekkor csak 0 és 128-akat küldözgetett
- vcom driver meghülyülés és fagyás
Eltartott egy darabig míg ezt a 3 problémakört sikerült elszeparálnom. Tanulságos volt mindenképp. -
Szirty
őstag
Üdv Onishi!
Örülök, hogy sikerült!
Bár erre a hibára nem gyanakodhatott senki, mivel ezt írtad:"Először gyanakodtam a soros-ethernet átalakítóra, hogy az zavarodik össze, de kipróbáltam az ottani gép saját soros portján küldeni, és azon is előjön."
Ebből pedig az jön le (legalábbis szerintem) hogy nem lehetett a soros-ethernet-soros vonalon a probléma mivel ezek megkerülésekor is jelentkezett a hiba.
-
Onishi
tag
Nos a probléma megoldódott. A gond a soros-ethernet átalakító virtuális soros port driverével volt, az akadt be időnként és produkált furcsa dolgokat. Olyannyira, hogy a PC-t amin futott, 3-szor is lefagyasztotta kékhalállal. Ezért driver nélkül lett megoldva, úgy hogy VBScript-ből simán TCP-n küldöm az átalakítónak az adatokat. Így már stabilan működik és egyszerűbb is. Így már nem is bufferelődnek az adatok, mint a vcom driverben, szóval az a probléma is megoldódott. Gondoltam megosztom veletek, hátha más is belefut ilyesmibe.
-
KB.Pifu
tag
válasz
Achilles83
#5021
üzenetére
szia!
sajnos nekem nem váltott automatikusan, és gondoltam nem lesz itt valami rendben, ráadásul miután bezártam azt az ablakot amiben láthattam volna a compiler error-ját nem is nagyon tudtam előre lépni.
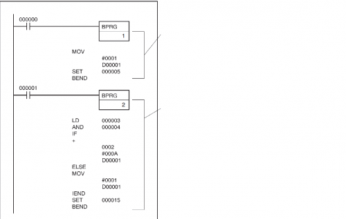
Ez is érdekes, hogy hiába tudom melyik ikon nyitja meg azt az ablakot, visszahozni csak úgy tudom, ha alaphelyzetbe állítom az ablakok megjelenítését.de a lényeg, hogy amire akartam sajnos nem használhatom ( bprg használata tiltott for/next közben) pedig ebben lehetett volna a nagy buli.
De sebaj, inkább most derüljön ki. -
Dezsi82
tag
válasz
csomorbalazs
#5016
üzenetére
Üdv!
Létezhet több megoldás is, a "favágóstól" a profiig. Én PCs alkalmazásban gondolkodnék, könnyen megoldható, hogy akár képet is készítünk a kameráról, amikor kinyitják a fiókot. Miben kellene segítség? Mindenben, vagy csak egy részében? -
KB.Pifu
tag
válasz
Achilles83
#5019
üzenetére
üdv!
köszi!
Ennek csak az az egy módja van, hogy áttesszük az egészet memnonic-ba majd vissza ladderba?üdv
Pifu -
KB.Pifu
tag
Sziasztok!
Foglalkozom mostanság az Omron plc-kkel szabadidőmben, egyszerűbb progikat írogatok csak, hogy megismerjem az utasításkészletet. (loop, indirekt címzés, ilyenek, amik azért túlmutatnak kissé a ladderen)
Szeretném használni az If/Else utasítást, de leírás szerint ezt csak Bprg-ből tehetem meg, de azt egyszerűen nem sikerül elérnem, hogy a BPRG után, stl-ben írodjon a kívánt programblock
valami ilyesmit szeretnék látni
(cx programmer 9.4 trial version, 30 napos) -
Szirty
őstag
válasz
csomorbalazs
#5016
üzenetére
Helló!
Megoldható PLC-vel is (itt ilyesmiről van szó) de nem hiszem hogy erre a feladatra szánnál kb. 800e Ft-ot.
A PLC nem erre való, de meg lehet vele csinálni, csak drága ilyen célra. -
csomorbalazs
újonc
Lehet hogy nem a legjobb helyen járok, de keresek valakit aki a következőben tudna nekem segíteni:
Össze kéne hozni egy eszközt és egy szoftvert hozzá, ami naplózza egy fiók vagy ajtó nyitását.
Esetemben konkrétan egy fiókról van szó, ami kamerával van figyelve, és ellenőriznem kellene azokat a felvételeket, amikor a fiókot nyitották. Nem kell semmi bonyolult, csak az időpontok hogy mikor nyílt a fiók, eltárolva valamilyen adatbázisban vagy fájlban. Ha valaki tud segíteni kérem jelezzen nekem a 06205488872 számon. -
pentaxian
újonc
Sziasztok!
Lenne egy eladó Phoenix contact starter kit ILC 130-am táskával, minden tartozékával (sohasem használt, egy tréningen kaptam, de én nem akarok ezzel foglalkozni)
érdekel valakit?
érdeklődés:
pentaxian2012@gmail.com -
-
Szirty
őstag
válasz
Mazsika
#5010
üzenetére
Helló!
Soha nem értem meg miért szeretnek a kérdezők információval ennyire spórolni...
Milyen windózra próbálod fel erőszakolni ezt?
- Az S7-Graph nem támogatja a Win8-at és Win8.1-et
- Az S7-Graph SP7 támogatja a Win7 32 bit, Win7 64 bit, és Win7 64 bit SP1-et
- Az S7-Graph SP6 nem támogatja a Win7 32 bit, Win7 64 bit, és Win7 64 bit SP1-et
- Az S7-Graph SP6 támogatja a Win7 32 bitet (SP nélkülit!)Talán ebből ki tudod sakkozni a kérdésedre a választ! :-)
-
Szirty
őstag
válasz
levelko
#5008
üzenetére
Szia!
Az S7 tippek között van: "Idegen nyelvű" Step7 projectek megnyitása
-
levelko
csendes tag
Hello!
Egy step7 projekt megnyitásakor a következő hibaüzenetet kaptam:

Valamikor olvastam a megoldást vagy itt a fórumon, vagy Szirty oldalán, de most nem találom sehol.
-
DP_Joci
tag
Sziasztok,
Unity Pro-ban Prémium PLC-nél hogyan lehet változóként egyben felvenni egy kimeneti kártya 16 vagy 8 kimenetét?
Pl. úgy hogy QW0 vagy QB0 mint siemenséknél. Egyben akarom nullázni a kimeneteket csak nem bitenként.köszi
-
Onishi
tag
A soros kábel kb 1,5m hosszú, ami fixen be van építve a fényújságba, ennek a végén van a soros-ethernet átalakító. Nem használok handshaking-et. Kaptam egy protokollt a gyártójától, az alapján küldözgetem a sztringeket és működik is. Csak néha valami meghülyül és ilyet kezdek el küldeni neki.
Új hozzászólás Aktív témák
- NVIDIA GeForce RTX 3060 Ti / 3070 / 3070 Ti (GA104)
- Robotporszívók
- Digitális Állampolgárság Program DÁP
- Autós kamerák
- Kormányok / autós szimulátorok topikja
- Spórolós topik
- Bittorrent topik
- Milyen belső merevlemezt vegyek?
- Samsung Galaxy S25 Ultra - titán keret, acélos teljesítmény
- Bemutatkozott az új John Wick játék
- További aktív témák...
- 15.gen! Intel Core ULTRA 9 285K (24mag!) +hűtött VRM-es Z890 lap! GAR/SZÁMLA (Te nevedre kiállítva)!
- Lenovo ThinkPad T14 - i5-10310u
- Lenovo ThinkPad X13 - i5-10210u
- Lenovo ThinkPad T440s i5 (12GB RAM / 240GB SSD) + Eredeti Ultra Dokkoló (40A1) - Iroda, Diák
- Új HP 15 Victus FHD IPS 144Hz i7-13620H 4.9Ghz 10mag 16GB 1TB SSD Nvidia RTX 5060 8GB Win11 Garancia
- BESZÁMÍTÁS! MSI B760 i7 12700K 64GB DDR4 512GB SSD RX 7800XT 16GB Zalman S2 TG GIGABYTE 750W
- CoolerMaster MM710 53gr pehelykönnyű gamer egér eladó
- Apple iPhone 16 Pro 256GB Black Titanium használt 88% akku 6 hónap garancia
- HP Thunderbolt 4 kábel
- Apple iPhone 14 Pro / 128GB / Kártyafüggetlen / 12Hó Garancia / Akku : 87%
Állásajánlatok
Cég: PCMENTOR SZERVIZ KFT.
Város: Budapest
Cég: Laptopműhely Bt.
Város: Budapest


késő volt már...
de az elv az mindenképpen jó.

.
. Abban a konfigurációban 3 darab Profibus DP-s /Danfoss/ frekvenciaváltó volt az áldozat, amelyek nem akartak elindulni, nekünk meg fogalmunk sem volt, hogy lehelhetünk életet a gépbe..)




