-
Fototrend
Ez itt, az elektronikával hobbiból foglakozók fórumtémája.
Lentebb összegyűjtötttem néhány elektronikával kapcsolatos, hasznos linket.
Új hozzászólás Aktív témák
-
PHM
addikt
válasz
DonThomasino
#20097
üzenetére
A 910 ohm még elmegy, de az 1 ohmos helyett nem lesz jó a 2,2 ohm.
Ha csak nem kettőt kötsz párhuzamosan.
Azzal azonban nem árt számolni, hogy ezen a védelmi áramkörön
amperenként kicsivel több, mint 1 V fog esni. -
hNp88
aktív tag
kezdem feladni.
holnap lehet veszek ebből a "klasszikus" ónból, amit mondtok, ha azzal se lesz jó, akkor szerzek valahonnan egy Weller-t jóárasítva 
ha meg azzal se boldogulok akkor inkább beletörődök, hogy mezei villanyreszelő(tanonc
)ként meg kell maradnom az épületvillamosságnál 
-
Lompos48
nagyúr
válasz
DonThomasino
#20087
üzenetére
-
válasz
DonThomasino
#20089
üzenetére
Pont én?
![;]](//cdn.rios.hu/dl/s/v1.gif)
A 43 éves szemem már "lassacskán" szemüvegért kiált de a tulajdonosa még nem tud megbarátkozni a gondolattal.
Amúgy látható csak nehéz elolvasni
-
Lompos48
nagyúr
válasz
DonThomasino
#20087
üzenetére
Megnézem mit tehetek, mert az eredeti rajzot eldobtam és csak az exportált van meg. De azért tudom.

-
DonThomasino
veterán

totya694 : Te látod a számokat a Lompos mester rajzán?
Ha igen segít már leolvasni.
-
Latency
senior tag
válasz
Speeedfire
#20086
üzenetére
Én pont ma forrasztottam be az első SMD IC-et. Igaz, csak egy SO8 tokú EEPROM amit egy kicsi adapter nyákra tettem, hogy a próbapanelbe tudjam dugni, de akkor is

-
válasz
Speeedfire
#20083
üzenetére
Ha munka állomás akkor páka+trafó egyben.Ha páka akkor csak magában a páka+vezeték.
-
Lompos48
nagyúr
válasz
DonThomasino
#20067
üzenetére
Próbálom - amennyire csak lehet - koncentráltan kifejteni egy pár dolgot.
Megtaláltam a tápodnak a kapcsolási rajzához a technikai könyvecskéjét is, így elég tisztán látom.
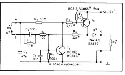
Ez egy - gondolom - 40 éves szerkezet, amit annak idején "atombiztosra" terveztek. Erre csak egyetlen utalás: amellett, hogy a kimeneti feszültség váltásához a trafó szekunderfeszültségét is kapcsolgatja, mégis a soros szabályzóban 7 db. 6A-es tranzisztort használ párhuzamosan kötve (egy 3A-es táp!). Mellékesen a használt ASZ 1018 (ASZ18) a '70-es évek slágere volt, mert impulzusüzemmódban lavina letörésben 15A áramot is képes volt elviselni. Ósdinak tűnik, de jópofa a túláramvédelme soros izzó és fototranzisztor kombinációjával.Most vissza a megoldáshoz.
Bármilyen tápegységben a túláramvédelem vagy áramkorlátozás az áram figyelésével/monitorizálásával történik. Ez egy bizonyos feszültségesést produkál a monitorizáló ellenálláson. Hogy a stabilizálás ne szenvedjen kárt, ez az áramkör a szabályozó hurok belsejében kell helyet foglaljon. A stabilizátor kompenzálja az ellenálláson fellépő feszültségváltozást is. Ez érvényes a tápodra is.
A már említett védelem cserélhető lenne egy, akár változtatható értékű áramkorlátra is, de nem sok értelmét látom a bonyolultság miatt.
Ha a második változatot vesszük, azzal az a gond, hogy bármit kötsz a táp után, az már nem lesz a szabályozó körnek része, tehát veszítesz a stabilitásból. Csak egy újabb stabilizálással lenne kikerülhető a probléma.Egy próbát megérhet a következő rajz kipróbálása:
Számításom szerint a potencióméterrel 0.7-4.2A között lehet állítani az áramkorlátot. A 2N3055 tranzisztor hűtőbordát igényel.
Változata lenne a következő, ahol az NPN tranzisztor PNP-re van cserélve, csökkentve ezáltal a kombináció (Darlington) által igényelt minimális feszültséget, ami mindenképp veszteség.
Végkövetkeztetésként csak annyit, hogy ha én döntenék és nem lenne elég nekem ez a táp, inkább építenék egy újat, mert nagyon klassz, modern IC-k állnak sorban, hogy használják őket.
-
válasz
Speeedfire
#20079
üzenetére
Weller-re szavazok én is.
Csak a pákát vedd meg és hozzá egy olcsó 24V-os trafót. -
malwy
senior tag
válasz
CPT.Pirk
#20077
üzenetére
Én is áldom az eget, hogy 28003as Fahrenheitet vettem meg a piros helyett. Nézegettem praktikerben, a piros nagyobb teljesítményű papíron, olcsóbb.
De szerencsére a fehéret hoztam el, gondolván nem hiába drágább a fehér, illetve hőmérséklet szabályozás stb.
Igazából nem tudom pontosan, miért e mellett döntöttem anno. -
Speeedfire
félisten
válasz
dudika10
#20078
üzenetére
Hát, max havonta szoktam 1-2 alkalommal, de a mostanival elég kínszenvedés.

Főleg, mikor smd-ket forrasztottam vele, na az elég nagy gányolás volt.Hát, akkor ezt hagyom max használtban valami weller talán. Csak, akkor még ahhoz gyűjteni kellene. Nem kell nekem állomás, legalábbis annyit nem fogom használni, hogy olyat vegyek szerintem.
-
dudika10
veterán
válasz
Speeedfire
#20076
üzenetére
Hőmérsékletszabályozás nagyon kezdetleges. Nehéz mindig ugyan azt / az éppen szükséges hőmérsékletet kiválasztani.
A trafó, ha nincs maxon, akkor zúg, ami elég idegesítő hosszútávon szerintem. Bár ez egyben szerencse is, mert ha maxra tekered és úgy hagyod, akkor egy idő után feltűnik, hogy nem zúg a trafó és eszedbe jut letekerni, mielőtt megsüti magát. Nagyon gyorsan elszenesíti a hegyet, amit folyton kapargatni kell.
Nem a hegy a legmelegebb, eléggé küzdeni kell ahhoz, hogy ott tartsa az ember azt az egy csepp ónt, amit éppen használni akar.
Ha nagyon sokat használja az ember megszokja, de ha csak néha elő-előveszi, akkor nagyon sokat fog káromkodni.Használtam, sőt most is használok ilyet, de egy Weller közelébe sem ér.
Hegyet olcsón lehet hozzá venni, bár ha lekaparod a szenet a végéről, akkor a világvégéig lehet használni egy hegyet (csak picit szenvedni kell azzal, hogy újra rendesen beónozd az
egész hegyet.
Lehet ezzel is szépen dolgozni, gyakorlás kérdése...Ha sokat használod, akkor megéri drágábbat venni, ha meg keveset, akkor meg pénzkidobás.
-
CPT.Pirk
Jómunkásember
válasz
Speeedfire
#20076
üzenetére
A piros Fahrenheit egy ipari hulladék sajnos. Nekem is volt, szét is égett a francba.
A fehér, 10k fölötti Fahrenheit 28003 viszont teljesen korrekt.
-
Speeedfire
félisten
válasz
DonThomasino
#20074
üzenetére
Nézegettem én is, de 5k-tól ott sem jövök ki.

7k körül voltak a legolcsóbbak hegy nélkül.
dudika10: Milyen gondok?
-
dudika10
veterán
válasz
Speeedfire
#20073
üzenetére
Használható a fahrenheit, de nagyon sok gondja van.
Inkább keress olcsób használt wellert ha nem akarsz sokat kínlódni. -
DonThomasino
veterán
válasz
Speeedfire
#20073
üzenetére
Nem rég láttam vaterán egy csomó használt wellert, ha szóba jöhet....
-
-
Lompos48
nagyúr
válasz
DonThomasino
#20064
üzenetére
OK. Át fogom bogarászni hamarosan.
-
Lompos48
nagyúr
válasz
DonThomasino
#20062
üzenetére
Nem működik a megadott link.

-
Lompos48
nagyúr
válasz
DonThomasino
#20060
üzenetére
Ezt 2 úton lehet megoldani:
1. A meglévő tápot módosítani (nem bonyolult ügy), amihez a táp rajza és az igényeket meghatározó adatok kellenek.
2. Ha egy külső, a meglevő táphoz csatolható kütyüt akarsz, akkor is meg kell határozni adatokkal az igényeket és számolni kell azzal, hogy egy külső kütyü még megesz valamit a táp kimenetéből. -
Lompos48
nagyúr
válasz
DonThomasino
#20058
üzenetére
Nem tudod miért torzít az erősítőd, túlvezérelt vagy egyéb okból.
-
Lompos48
nagyúr
válasz
DonThomasino
#20052
üzenetére
Amikor nem elég egy mérőműszerről leolvasott feszültségérték és fontos a hullámforma is, a magasabb frekvenciás jelekről nem is beszélve.
-
dudika10
veterán
Félállás alatt nem lehet vele semmit csinálni, úgy 3/4 állásnál lehet már vele dolgozni rendesen, ha teljesen feltekered, akkor viszont elszenesíti a végét.
Első körben alaposan kapargasd meg a hegyet, majd próbáld az egészet befuttatni ónnal (tekerd maxra hozzá nyugodtan).
Ha nem sikerül, akkor a betétet cserélni kell (a hegyet néha megkapargatva, az remekül bírja
).
Nem tudom milyen vastag hegy van benne, de próbáld ki a legvékonyabbat. -
hNp88
aktív tag
Speeedfire, DonThomasino, totya694 köszönöm

fahrenheit 28020ról van szó egyébként. ha cserélem, akkor csak a hegyet, vagy a fűtőbetétet is? (remélem, kapok ilyesmit itt helyben, nem kell netről rendelgetni
) -
DonThomasino
veterán
Valaki el tudná mondani nekem röviden milyen esetekben van szükség szkópra?
Nem az elméleti része érdekelne, mert az vana NET en.
Inkább gyakorlati oldalról... -
hNp88
aktív tag
üdv népek,
50W-os pákához milyen ónt ajánlotok? egyáltalán az ón a hibás itt?
egyikről se tudom miféle, "talált" darabok, de az egyiket (ez valami vékonyabb cucc) nem tudom megolvasztani, csak ha a hegy oldalának nyomom, a másik, vastagabb meg olvad ugyan, de az se az igazi... ebből gondolom, hogy nem a páka a hibás, hanem nem megfelelő ónt "találtam" hozzá...
-
zka67
őstag
válasz
xKacsax
#20035
üzenetére
A PC billentyűzetekben van egy mikrokontroller, ami feldolgozza a billentyű lenyomásokat és ezeknek az u.n. scan kódjait beküldi a PC-be. A laptop billentyűzet is hasonlóan működik, de ott az alaplapra van integrálva a mikrokontroller, nem tudod különválasztani. Magyarul felejtsd el.
-
-
válasz
DonThomasino
#20033
üzenetére
Vagy ha kell a tapipad is nem rég láttam nem is drágán használt IBM mini billentyűzetet ami egybe volt építve a tapipaddal és USB-ről kommunikált.
-
xKacsax
aktív tag
(#20029) totya694: Hát kinézetét tekintve hasonlít a Wartburg 353-as generátorához és a fesz. szabályzó elektronika is ott van benne szerintem. De majd ha ki tudok jutni akkor kipróbálom. Amúgy felszereltem rá egy ékszíjtárcsát és egy villanymotorral hajtottam meg
(#20032) zka67: Akkor azt a gondolatot hogy egy laptop billentyűzetét használni tudom hozzá mint "beépített billentyűzet" vessem is el ?

-
kjani18
őstag
válasz
Speeedfire
#20014
üzenetére
Ha Veszprémbe jársz, adok neked egy pici beültethető kapcsolót.
-
válasz
xKacsax
#20027
üzenetére
Ez a régi fajta Trabant,Wartburg generátor ebből csak a saját rezgőnyelves feszültségszabályzójával tudsz feszültséget kicsikarni.Ilyen fesz.szabályzó kell hozzá.
Ez pedig a beépített feszültségszabályzós generátor.Egy 12V 2W-os izzó elegendő az életre keltéséhez amit a 6-os csavar és a csúszósarus kivezetés közé kell kötni.Értelem szerűen a háza a negatv és a 6-os csavar a pozitív kivezetés.Egyszerűen ki lehet próbálni.Kell egy satu amibe befogatod a generátort egy fúrógép és egy alkalmatosság,hogy a crova fejet meg tud forgatni a fúróval(én egy 8-as csavar fejét köszörülten 4zet alakúra azt fogatom a fúróba arra crova fej és már forgatható is a generátor)
Ha pl. egy 55W-os izzót kötsz a generátorra akkor ne lepődj meg ha esetleg kicsapja(mert nem tudja eléggé leterhelni a generátort és felszalad a feszültség akár 18V környékére is. -
xKacsax
aktív tag
Hello! Azzal az újabb kérdéssel fordulnék hozzátok, hogy egy laptop billentyűzetet és touchpadot hogyan tudnék egy asztali gép alaplapjára kötni úgy hogy működjön ?? Ha jól tudom a laptop billek szalagkábellel vannak szerelve és egy régebbi fajta alaplapról van szó amin nem működik a PS/2-es port. Szóval valamilyen ötletet szeretnék, hogy megoldható-e vagy ebben ne is nagyon gondolkozzak.
-
xKacsax
aktív tag
Hellosztok!
Beszereztem a minap egy Trabantból kiszerelt generátort, és szórakoztunk vele de nem sikerült megtalálnunk hogy hol van a kivezetése amin leadja az áramot. Látatlanban valakinek ötlet ??
Előre is kösz a választ!
-
dudika10
veterán
válasz
Speeedfire
#20023
üzenetére
-
dudika10
veterán
válasz
Speeedfire
#20018
üzenetére
Hát feltételezem, hogy a záró itt azt jelenti, hogy úgy marad, de nem tudom, hogy ez konkrétan kapcsoló-e, de hát 50 forintért egy próbát biztos megér.
A képen láthatóból nekem is van itthon.
-
dudika10
veterán
válasz
Speeedfire
#20016
üzenetére
Jajj hát pont a lényeget felejtettem el leírni. Nyomókapcsoló néven keresd.
Olcsó PC hangszórók bekapcsoló gombja ilyen gyakran például, olyanom is van itthon, de a mosógép tetején is ilyen van itthon. -
dudika10
veterán
válasz
Speeedfire
#20014
üzenetére
Létezik ki-be kapcsoló "nyomógomb" is. Annál egyszerűbb "kapcsolás" nincs. Az nem jó?
szerk.: én csak nyákra ültethetőt használok. Egy 5*5*5mm-es kis kapcsoló. Benyomod úgy marad, megint benyomod kikapcsol.
Kb 50 forintért szoktam venni. De azt hiszem találkoztam már becsavarhatóval is, de az rég volt.
-
Lompos48
nagyúr
válasz
Speeedfire
#20011
üzenetére
Ez egy bistabil áramkört pont azért, hogy működhessen egy egyszerű nyomógombbal (amilyen a pc reset gombja). Ha kapcsolót használsz, nem kell elektronika.
-
CPT.Pirk
Jómunkásember
válasz
Speeedfire
#20011
üzenetére
Csinálj egy relés öntartó kapcsolást. Két nyomógomb kell hozzá, meg egy relé mindössze.
-
Porcupain
aktív tag
Üdv,
Van egy rossz yp-t7 mp3 lejátszóm. Azért romlott el, mert egy rossz helyre bekötött usb-re lett csatlakoztatva, és így túl feszültséget kapott. Annyi a hiba jelentség, hogy nem ismeri fel a windows. Egyébként működik és rádióbol lehet a memóriára fel venni számokat. Még régen amikor elromlott elvittem szervizbe, de akkor egy horror árat mondtak a javításra (kb 30e). Gondolom az egész belsejét cserélték volna. A kérdésem az lenne, hogy egy hozzáértő emberke, meg tudná javítani anélkül, hogy az egész belsőt cserélni kéne? -
Lompos48
nagyúr
válasz
DonThomasino
#20006
üzenetére
Érdemes esetleg megnézni a termosztátját (bimetál?), lehet az is a ludas. Ha egyáltalán melegszik, akkor a fűtőszál nem szakadt.
-
moha21
veterán
válasz
Batman2
#20004
üzenetére
Igen, egyenárammal szebben lehet hegeszteni, mint váltóárammal. Rutilos bevonatú elektródánál a negatív pólus az elektróda, míg a bázikus bevonatú elektródát a pozitív sarokra kell kötni.
Ezért is van az, hogy a hegesztők imádnak dinamóval hegeszteni, mert annak tökéletes egyenárama van. -
Batman2
addikt
-
Batman2
addikt
válasz
DonThomasino
#19995
üzenetére
A kiváncsiság mellett fűtőszál is !

-
CPT.Pirk
Jómunkásember
válasz
Lompos48
#20000
üzenetére
Huhh, valami olyasmi kellene, aminek a használatát nem kell külön megtanulni. Egy egyszerű online kalkulátor kellene csak nekem.
Láttam ilyen Chebisev és társai szűrő tervezőt, bekattintottad az ellenállásokat, stb. aztán már ki is köpte a végeredményt. Csak most nem találom...
Új hozzászólás Aktív témák
- Hall-effektusos "félbillentyűzet" jött a Keychrontól
- Milyen egeret válasszak?
- Xbox Series X|S
- Anglia - élmények, tapasztalatok
- Autós topik
- Kés topik
- NVIDIA® driverek topikja
- Dreame Pilot - Álomhaj, ó!
- Xiaomi 17 Ultra - jó az optikája
- Ha az alaplapi hangchipnél jobbra váltanál, itt az új Sound Blaster hangkártya
- További aktív témák...
- Manli RTX 3070 8GB LHR / Csavarmatricás / Beszámítás OK! / Akciós ár!
- Apple Watch 4 44mm szürke színben. 74% akkumulátor.
- Canon EF-S 24mm f/2.8 STM objektív
- Dell Inspiron 16 Plus 7640 Ultra 7 / RTX 4060 16gb DDR5 1TB SSD/2.5K 120Hz Garancia
- Canon 60D fényképezőgép + 50mm objektív + 16GB memóriakártya
- ÁRGARANCIA!Épített KomPhone Ryzen 7 5700X 16/32/64GB RAM RX 9060 XT 8GB GAMER PC termékbeszámítással
- Surface Pro 7+ i5-1135G7 16G 256GB 1 év garancia
- 241 - Lenovo Legion 5 (15IRX10) - Intel Core i7-13650HX, RTX 5060
- 216 - Lenovo Legion Slim 7 (16IRH8) - Intel Core i7-13700H, RTX 4060
- Eladó egy Huawei GT3 okos óra Dobozzal tőltővel
Állásajánlatok
Cég: Laptopműhely Bt.
Város: Budapest


holnap lehet veszek ebből a "klasszikus" ónból, amit mondtok, ha azzal se lesz jó, akkor szerzek valahonnan egy Weller-t jóárasítva 
)ként meg kell maradnom az épületvillamosságnál 
![;]](http://cdn.rios.hu/dl/s/v1.gif)











ekkold