-
Fototrend
Ez itt, az elektronikával hobbiból foglakozók fórumtémája.
Lentebb összegyűjtötttem néhány elektronikával kapcsolatos, hasznos linket.
Új hozzászólás Aktív témák
-
-
turho
addikt
válasz
tordaitibi
#99792
üzenetére
Ok, ha ezt kell megépíteni, akkor feladom
azt hittem, passzív 20 érrel menni fog. -
-
-
coco2
őstag
válasz
Digitalpimp
#99785
üzenetére
Az induktivitás képletét szerintem minden elektromossággal foglalkozó fizika tankönyvben megtalálod, arra kár szót vesztegetni.
Konkrét link kellene + hova mit ísz be + neked milyen eredmény jön belőle. Azok alapján ki lehet számolni a valós eredményt, és ellenőrizni, hogy az oldal rendesen számol-e?
-
qdak
addikt
Sziasztok,
Anomáliára keresek választ:
2 erősítő is csinálta, ami PC re van kapcsolva, bekapcsoláskor, ha alacsony hangerőn van a PC, sokszor csak a bal oldal indul be, ha felhuzom a win alatt a csuszkát 40% ra máris beindul mind 2 oldal
Viszont mindenestül ki lett már cserélve a gépem! és ugyanaz történik, de az erősítő is teljesen más, kábelt is kicseréltem, nem egyszer
Ilyen anomáliák is voltak:
"- Pioneer SA 970: Működik, de idő után a jobb oldal zúg, majd abbahagyja, működik tovább (Talán kondik ?)
- Denon DRA-345R: Működik, általában éjjel mikor már jelet nem kapott, hogy felkeltsen hagosan elkezdte búgatni a hangfalakat, ki be kapcs után megint simán működik." -
Digitalpimp
senior tag
Szia! Az egyik a HE oldalán van, a másik talán egy orosz? oldalon, de angolul volt, a harmadikat már nem tudom. Nagyon eltolni nem lehet, 10X10mm-es cséve, 0,7-es huzal. A HE adott kb. 221 menetet, az orosz 139-et, a harmadik meg 160 valamennyit. Műszerem nincs hozzá, hogy ellenőrizzem, ha más nem lesz, marad a papír, meg a ceruza+számológép, mint régen.
-
coco2
őstag
válasz
Digitalpimp
#99748
üzenetére
Erre nem tudom, sikerült-e találni bármit, de a felvetett kérdés egy kicsit meglepő. Az induktivitásnak van egy képlete. Ha két kalkulátor nem ugyan azt adja eredménynek, és nem csak kerekítési pontatlanság kategóriájába beleférő eltérések vannak a kijelzett értékek között, akkor a kettő közül legalább az egyik biztosan hibás képletet implementált. Vagy user error történt. Nem tudom. Linkek kellenének, és beírt / kijelzett értékek, mit tapasztaltál. Valami, ami objetív, ellenőrizhető, visszaigazolható.
-
gyenesmartin
őstag
válasz
tordaitibi
#99782
üzenetére
Fnirsi hs-02A forrasztópáka.
JBC hegyek tehetők bele. 100W USB-C ről hajtható.
Kicsi, könnyű, jó a fogása, pontos.
Nekem 15 000ft volt a 6 heggyel (igaz azok nem JBC-k, de nem rosszak otthonra). -
válasz
gyenesmartin
#99773
üzenetére
Szia ez milyen cucc?
Én elvagyok az enyémmel, egy ősöreg Fahrenheit borzalom, pár különböző heggyel.
Viszont egy örökkévalóság mire bemelegszik, kb. egy kv lefől, megiszom +cigi mire használni tudom.
Kéne váltanom valamire, de nem kellene 70-80ezres forrasztóállomás, már felesleges. -
-
laed
senior tag
válasz
gyenesmartin
#99773
üzenetére
Ügyes barkács!
Most hogy ezt láttam, belegondoltam, hogy hasonlót én is tudnék kreálni: akku=>inverter=>pisztolypáka. -
válasz
gyenesmartin
#99773
üzenetére
nekem is ez van, használom mindenről, laptop töltő, labortáp, hordozható akku.
Azt hiszem neked a B verzió van a nagyobb páka hegyekkel, én az A verziót vettem a mikro hegyekkel.
A legnagyobb véső alakúból ami neked is van van egy elfekvő darabom B típushoz, ha akarod odaadom. -
gyenesmartin
őstag
válasz
gyenesmartin
#99575
üzenetére
Végül így néz ki.
3 másodperc alatt felmelegszik 350 fokra. Valamint elég szépen tartja a hőfokot.
Melegítés alatt 2V-ot ejt a kábel, de nem melegszik.
-
-
turho
addikt
válasz
tordaitibi
#99759
üzenetére
Köszi...sejtettem. Kellene akkor szereznem "nyákos" kihosszabbított usb c aljzatokat, ha szeretnék gyártani magam. (Ilyen 10-15 centi). Szerelhető C aljzatot, dugót (lengő) valami horror áron találtam csak itthon ...(És az marha pici forrláb). Építő ötletet megköszönök. (Nem vagyok akkora nagy pákász).
-
Sziasztok!
Talán triviális kérdés: Rack szekrényben ha nincs földelés kötődoboz külön, akkor beköthetem a PDU-ba a földet egy dugvillával?
Nyilván ISO meg MSZ szabványoknak nem felel meg mert kihúzható a dugvilla, de ezt csak én használom. Esetleg a PDU rögzítő füléhez tudom odakötni még. Ha esetleg van jobb ötletetek meghallgatom.
Minden felület porfestett a szekrényben még a sínek is. A régi szekrényemben elég egyszerű volt mert a háznak volt egy földelés pontja és a PDU már a rögzítéstől leföldelt mert nem volt semmin festék belülről. Viszont most a sínek is fekete porszórtak így mindent össze kell drótozni egymással. -
.-..-.
tag
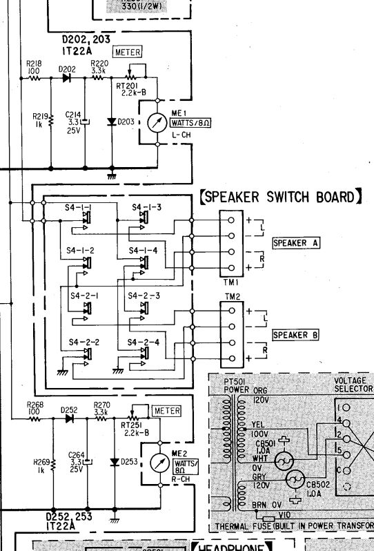
Van egy audio erősítőm, aminek a bal oldali deperz teljesítmény kijelzője elkezdett "bohóckodni".
Konkrétan az van, hogy a mutató nem akar megmozdulni időnként alacsony hangerőnél.
Ahogy emelem a hangerőt, a jobb oldali mutató kitérése egyre nagyobb, de a bal még nem mozdul. Aztán kellően nagy teljesítménynél elindul és rendben működik.
Normál (halk) hangerőre téve még dolgozik egy darabig, majd egyre csökken a kitérése és a végén ismét, mintha megállna.Gondoltam esetleg arra is, hogy fizikailag akad valamiért a mutató, de nagyobb hangerő után visszavéve halkabbra akkor miért működik egy darabig?
(Ehhez a részhez amúgy inkább nem nyúlnék)A másik ötletem az lenne, hogy a rajzon lévő "ME1" (bal oldali WattMeter) körében lévő C214 kondija nem okozhat ilyesmi hibát?
Ez egy 1978-as kiadású erősítő és talán kiszáradhatott a kondi.
(Erősen integrált audio oldalról, talán csak ezért, de hangban nem venni észre problémát az eredeti alkatrészeivel sem) -
-
turho
addikt
Tudja-e valaki, egy korrekt usb c toldóhoz hány vezeték/pin szükséges, ha 3.1 tudást szeretnék.
Van egy Samsung DEX dokkolóm, ahhoz kellene egy pár cm/max. fél méter hosszú usb c anya-apa "hosszabbító", ugyanis nem akarom beledugdosni a kèszüléket. Mert csak úgy fér bele, ha kiveszem a tokból.
(4k60 HDMI kimenet plusz usb 2.0 perifériákat, és némi gyorstöltést kezel le a cucc). Vagy vegyek gyári toldót? (Elég drágák...) -
válasz
Donki Hóte
#99754
üzenetére
Félre ne érts, nem voltam/vagyok megszállott sose menetm vérre ebbe hifi mizériába.
de tényleg 100% ki lehetett hallani sok minden apró módosítást amiket anno elkövettünk.
riaa korektorokat is tuningoltunk meg csináltunk házilag és ott még egy félsüket is meghallotta a Vidi Cleopatra receiver gyári riaa és a sufnitunig közötti ordító különbséget.
A végfokok stabilizátorát is azonnal ki lehetett hallani. Persze életképtelen volt, mégegyszer akkor volt a táp mint a végfok de időt elütni jó hobbi volt.Persze ezek egy Vidi vagy egy Orion HS500-on nem nagyon jöttek ki de az egyik őrült havernak voltak külföldi ismeretségei és a teszteket az ő B&W dobozain csináltuk.
Másfél Zsiguli ára volt a 2 hangdoboz.
Visszamennék abba a hőskorba
-
válasz
tordaitibi
#99753
üzenetére
Igen, a hifi erősítők tápszűrése egyrészt eléggé fontos (különösen a bkercso által elég magas szinten művelt fejhallgatő erősítők és DAC-ok építése során), másrészt inkább a gyakorlatra, mint az elméletre alapozódik, mert az elmélete egy nagy csomó ismeretlent tartalmaz.
(Ez olyasmi, mint amikor a hifi láncodban van egy kis brumm, ami valamelyik eszköz hálózati dugójának a fordítva történő bedugására érdekes módon megszűnik
)Gondolom, hogy a bkercso által közreadott kapcsolás is inkább a gyakorlatban működik jól, hiszen elméletileg nem sok értelme van, sőt ránézésre inkább problémák forrása lehet.
D osztályú erősítő esetében teljesen indokoltnak látom ennek a kis tápszűrőnek a használatát, ha nem trafós tápot (vagy akkut), hanem kapcsolóüzemű tápot használok egy D osztályú erősítőhöz, akkor én is szoktam egy kis soros ferritmagos tekercset rakni a pozitív tápfeszre.
-
válasz
Donki Hóte
#99749
üzenetére
"de ettől függetlenül én nem kötnék bele a munkásságába
"
Igen én is így látom, nem hülye a témához.
Más máshogyan látja.
Ez a cikke is bizosan a kiscsopiba íródott és a végén mellékelt linkeken se szakmai anyag hanem az ovistársakkal megrendszett kakaóparty leírásai találhatók. [link]Az egyik pizsiparty leírásba nagyszeűen látszak a szkópos fotók hogy egy mezei 78xx stab.ic mennyire nem stabil.
Dehát vannak itt profibbak a csoportba, bizonyára ellenpéldákat fognak felhozni, szkópos mérésekkel megtámogatva a fikázásukat.Mint már leírtam, anno úgy 40 évvel ezelőtt a hifi volt a hobbim és körbe voltam véve megszállottakkal.
És sok-sok kísérletezés után (sajnos csak a kísérletezés marad mert az akkori szkópomon egy tranziens csak egy maszat volt a jelen) arra jutottam hogy a tápellátás minősége szinte fontosabb magánál az audió áramkörnél is.
Legagymenőbb megoldásokkl kísárleteztünk, pl. quadokat meg az akkori itthon egyetlen megvásárolható, a szintet hozó végfokot, az Orion SE260-at analóg áteresztő stabbal fejeltük meg + saját tekerésű brutális transzformátorokat gyártottunk.
Jobban fűtöttek ezek a stabok mint a radiátor, 2x60-80 wattokról van szó.
És az eredmény durván túlment a bebeszélés határán mert még Édesapám is meghallotta az eltérést pedig neki 2 bot füle volt és tele volt a hócipője hogy összehasonlítő stúdiót csináltam a lakásból.Vagyis jogos a tápolás minősége, nagyon is.
-
coco2
őstag
válasz
tordaitibi
#99747
üzenetére
Ha még az általános iskolában vetette papírra, akkor mondjuk érthető.
-
válasz
tordaitibi
#99747
üzenetére
Nyilván bkercso nem az audió nirvána megkérdőjelezhetetlen papja, de ettől függetlenül én nem kötnék bele a munkásságába
Több ismerősöm is nagy elégedettséggel hallgatja a bkercso által készített DAC-okat, fejhallgató erősítőket, pedig nem olcsón árulja az általa készített dolgokat
-
Digitalpimp
senior tag
Sziasztok! Tudtok olyan légmagos tekercs kalkulátort ami tényleg jól számítja ki a menetszámot? Amit eddig találtam azok között igen nagy a szórás. (Ugyanazon adatokra kaptam 139-től 221-ig menetszámot. Azért nem mindegy.) Előre is köszi!

-
A szerző biztosan "tévelyeg" meg nem ért hozzá, ezt a cikkét is biztosan még az általános iskolába vetette papírra, a grafikonokat meg megálmodta a macijával éjjel az ovcsiba.
[link]
Én magam is ezzel a témával sokat foglalkoztam anno 20-22 éve, amikor hifivel megfertőzött ismerőseimnek építettem audio cuccokat.
Csak akkor még nem volt se internet, sem ennyire könnyen található szakirodalom.
Minden analóg, de D audio eszköznek is a lelke a tápegység és ezt nem én és nem most találtam ki hanem az első komolyabb csöves erősítőnél már ezt tudták. -
.-..-.
tag
válasz
Dr. Szilikát
#99675
üzenetére
Gyorspanelen összehoztam egy próba erejéig ezt.
Q1: P2N2222A
D3: 4148
R3: 1 kOhmAz "Input" lábnál ~1.3mA-t mértem, ami több, mint szuper.
A relé teljes biztonsággal kapcsolgat ide-oda a vezérlésnek megfelelően.
Csak próbaképpen az R3-at 5 kOhm-ra cseréltem, de úgy is kapcsol a relé. Ezek szerint a P2N2222A-nak még így is elég.Köszönöm szépen a segítséget neked is és a többieknek is.
-
turho
addikt
válasz
tordaitibi
#99735
üzenetére
Köszi neked is.
-
turho
addikt
válasz
Dr. Szilikát
#99736
üzenetére
Úgy értettem, a 7812 szabályzását nem rontja el egy soros 400 uH például? Induláskor nem kap feszlöketet, vagy nem gerjedhet be? Ilyenekre gondoltam.
-
coco2
őstag
válasz
tordaitibi
#99735
üzenetére
Az a kapcsolás valami főiskolás fiatalkorú tévelygése vagy micsoda

-
Dr. Szilikát
őstag
Soros alkatrész nem terhel, tehát a "bírja" nem is értelmezhető ebben a kontextusban.
Lineáris stabilizátor kimenetén LC szűrőt nem nagyon szokás használni, CRC-szűrőt esetleg, mivel csak 200 mA áramról van szó, kisebb ellenállás általában nem okoz problémát a táplált áramkörben.
Ilyen esetben jellemzően előerősítők tápját szolgáltatja, talán azt is hihetik vájtfülűek, hogy az amúgy sem túl jelentős zaj 1:1-ben bezavar az előerősítő hangjába.
Ez nem így van, mivel az erősítőfokozatok alapvetően a bemenőjelet erősítik, miközben a tápellátás zajára ideális esetben nem is érzékenyek, ez köszönhető részben a negatív visszacsatolásnak is. Noha a gyakorlatban bizonyos beszűrődés megjelenhet, korlátozottan.
A stabilizátor a bemenő hullámosságot nagyrészt kiszabályozza, némi saját félvezetőzaj jelenhet meg például (egyfajta fehérzaj), vagy máshonnan átszűrődő kapcsolófrekvencia, de ezt kiszűrik a szokásosan alkalmazott RC-tagok, míg a tápfesz. eljut az előerősítőhöz.
Szerintem nehezen hihető, hogy egy 7812 zaját ilyen esetben ember meghallja a hangszóróban.
-
-
coco2
őstag
Lehet valahonnét nem átlátszó és nem ezüstözött szilikon pasztát beszerezni csak kicsi mennyiségben?
-
Dißnäëß
nagyúr
Sziasztok, KiCAD-ben jártas valaki ?
Most tanulgatom, elég izzadós.
-
turho
addikt
válasz
Donki Hóte
#99729
üzenetére
Kiderült, ez a kombó van használva:
The LDO linear regulator uses the LM7812 model, while the DC-DC switching regulator uses the SSP9459.
Gondolom, ez elég jó, esetleg a 7812-t lehetne mèg zajmentesíteni...
-
gyenesmartin
őstag
válasz
PROTRON
#99728
üzenetére
Próbálj ki Mosfet drivert kötni az ESP és a LED szalag közé.
-
Itt nézz szét, a TPA3255 chipről lamentálnak, meg a tápellátásáról.
Sokan írják, hogy maga a TPA3255 chip se mindig bírja a 48 voltot

-
PROTRON
addikt
Najó már kezd elegem lenni:
Itt is írtátok fentebb, hogy az ESP32 és a LED szalag flickering problémájára próbáljam ki hogy ellenállást kötök a data vonalra.
Akár 33-as, akár 249 ohm-os ellenállást használok, megse mukkan a LED szalag.
Mind1 hogy a WLED-ben az első led-et sötétre állítom, hogy átugorja.
Íme egy fotó a próba elrendezésről, ugyanez a bekötés rendben működik ha az ellenállás helyére szintén vezetéket kötök. Tehát csak az ellenállás kerül be-vagy ki, mást nem változtatok.
Jah és ennél ESP32-esnél az I/O shielden a feszültség stabilizátor csak max 85 fokig melegszik, nem úgy mint a másiknál, ahol 105 fokig.Most csak ki akartam próbálni hogyan reagál ha 1 szalaghoz rápróbálok a módszerre, mert internetek szerint nem szabadna semmi problémának lennie. Erre meg se mukkan.
Köszi ha tudtok valamit, rámértem és a 2 legtávolabbi csavar között szintén 249 ohm van, tehát nem kötés hiba:
-
válasz
Dr. Szilikát
#99726
üzenetére
Akkor se biztos, hogy meglátod, ha belenézel

Nemrég mutattam képeket arról, hogy kínai erősítőben CS8673E IC-re pofátlanul rászitázzák a TPA3116D2 feliratot

Ha nem ismered a konkrét IC-k kinézete közötti különbséget, akkor sosem jössz rá a csalásra

Bár az Aiyima nem rossz gyártó, ők talán nem csalnak...
-
Dr. Szilikát
őstag
Az adatlap szerint 150 kHz mindkettő, olyat egyébként sem lehet csinálni, hogy valaki csak IC-t cserél, de a szűrőtagokat nem korrigálja a frekvenciának megfelelően.
Absolute Maximum Ratings szerint 45 V max., amit persze nem illik feszegetni, ilyet sem szoktak csinálni és ez nem is egy alsó kategóriás erősítő.
Azt sem árt megvizsgálni, ha tényleg csak 40 V-os változat van benne, az még nem biztos, hogy megkapja a 48 V betápot, hátha beiktattak valami egyéb csökkentést.
Mindamellett ezt külső ránézésre senki nem mondja meg, egyszerűbb belenézni.
-
PROTRON
addikt
Na megint érdeklődöm:
a 12V --> 5V, valamint a 5V --> 3.3V DC - DC konverterek, a rajtuk lévő voltage regulatorok esetén mennyi lehet az egészséges hőmérséklet?
Borda nélkül a 100-105 fok maradhat? Vagy az már túl sok?
Mondjuk egy esp panelen... -
turho
addikt
válasz
Dr. Szilikát
#99723
üzenetére
48v-os a vègfok. Ezért is remélem, hogy hvs van benne..De a kapcsolófreki is magasabb (50 VS 150 kHz ezáltal kisebb a tápzaj, jobb az elnyomás.

-
turho
addikt
LM2596HVS-12, van itt köztetek, aki tpa3255 végfokokkal barkácsol, és 12v előállításához ezt építette be a gyártó? Állítólag vannak olyan panelek, amin ennek a gyengébb verziója szerepel. Illetve, nehéz ilyenből szerezni valahogy 1 db-ot? Köszi
(Aiyima A70 végfokom van, nem akarom azonnal szétszedni, azt ki lehet deríteni valahogy, hogy abban ez van, vagy csak a gyengébb HV?)
-
coco2
őstag
válasz
bagarol
#99720
üzenetére
A fritzing nem ingyenes, a spice 130 mega. Valami client side only böngészős alapút azért lenne jobb találni, mert az nem 130 mega (el kell tennem azt is, ha azt akarom, hogy a projekt mentések később biztosan újrahasznosíthatóak legyenek), és persze a binárisoknak egy halom sok funkciója van, amire semmi szükségem (lehetne éppen lefaragni abból a 130 megából). Inkább az amatőr világ mórickás alkotásai a praktikusak arra, amire én keresem, mint a céges világ profi cuccai. Azért is dobtam ide a kérdést, mert olyasmivel összetalálkozni több szem kell, hogy többet lásson.
-
coco2
őstag
Breadboardok. Hosszú ideje csak kockás füzetet használok, és ugyan nem bánom különösebben, de minden projekt elején eszembe jut, de jó lenne valami breadboard szimulátort találni, amivel digitálisan tudok kötési tervet megőrizni. És valahogy mindig legyintek, és hagyom a fenébe, mert sosem találok normálisat.
Ami "normális" lenne, az egy szem kliens oldali weblap, amit akár le is menthetek, és nem website függő (nem veszik el, ha a website megszűnik). Kellene egy breadboard megjelenítés alsó rétegen. Terület kijelölési lehetőség felső rétegen (amit lakatrészek lefedni fognak, tudjam elnevezni röviden, és kommentet írni hozzá hosszan). Középső rétegen meg mondjuk 3 szinű vezetékeket megjeleníteni lukacstól lukacsig (név és komment ugyan úgy). Végül a terv egész reprezentációját megjeleníteni valami szöveges formában, amit copy / paste kimenthetek szöveg file-ba, vagy onnét visszatölthetem.
Létezik ilyen? Vagy bármi nagyon közeli?
-
Ton-ton
tag
válasz
PROTRON
#99698
üzenetére
Csak nem bírom...

Az I2C is egyfajta soros protokoll. Azonban itt címezni kell a rá kapcsolt eszközöket. Azért kell címeket használni, mert több eszköz is csatlakozhat ugyanahhoz a két adatvonalhoz. S ebből következik is, hogy kicsit lassabb, hisz egyszerre csupán két eszköz kommunikálhat. Ráadásul rövid vezetékekre tervezték. Eredetileg az áramköri lapon belüli kommunikációra szánták, és arra megfelel.
-
Dr. Szilikát
őstag
válasz
Dr. Szilikát
#99716
üzenetére
Még egy lényeges, a pufferen feszültséget mérni, szükség esetén kíméletesen kisütni és csak utána ügyködni, hiszen a műszer sem küszöni meg, ha ellenállást mérnénk, feltöltött kondi mellett, illetve véletlenül ráfogni sem jó érzés.
-
Dr. Szilikát
őstag
válasz
tupacamaru
#99714
üzenetére
Rutinosabbak a kiolvadás hevességéből is már következtethetnek, ha nem is teljes pontossággal.
Enyhébb alulméretezésnél előfordulhat egy kis lanyha kiolvadás. Direkt zárlat esetén viszont villanás, feketére kiégés. Ilyenkor az ember már gyanakvóan mér rá a kapcsolótranzisztor C-E / D-S zárlatára, ami a Graetz-hidat is viheti magával.
Ezért szerintem ilyenkor ez a következő lépés, nem érdemes mással kísérletezni. Ez már a régi a TV-k javításánál is bevett gyakorlat volt (meg a demagnetizáló PTC), hogy rögtön ezekre repül rá az ember. Biztosíték már eleve feketére volt égve, azzal próbálkozni sem kell, tovább kínozva az alkatrészeket.
Lényeges, hogy a zárlatos tranzisztor cseréje sem megoldás általában, mivel azt is valami okozta, tehát az okot is meg kell vizsgálni.
-
mezis
félisten
válasz
tupacamaru
#99711
üzenetére
Biztosíték kiégését elkerülheted, ha nem közvetlenül kapja meg a 230V-ot, hanem sorba kötsz vele egy hagyományos, izzót. Ha az izzó fényesen világít, akkor zárlat van, nem érdemes égetni a biztosítékokat.
-
válasz
tupacamaru
#99711
üzenetére
A hibajelenség alapján nagyon sok baja lehet.
Bemeneti varisztor zárlata, bemeneti szűrő tag kondi zárlat, graetz zárlat, pufferkondi zárlat, primer félvezető zárlat és még sok.
Reggie, ha egy 150W táp kilő egy 5A biztit ott nagy baj van, nem a puffer töltésétől ment az ki.
850W tápomba van 6A és azért az rendesen meg van pufferelve a primer oldalon. Mégse veri le. -
Reggie0
félisten
válasz
tupacamaru
#99711
üzenetére
Persze. DCDC tapoknal a bemeneti pufferkondikat fel kell tolteni ami nagy rugast jelent a halozatnak. A kimenetiek feltoltese mar a szabalyozas(ok)tol fuggen rant. Nekem van olyan 15W-os DCDC-m, amihez 2A-es biztositekot ir elo a gyarto.
-
tupacamaru
veterán
Van egy rossz HP Delta DPS-150AB-5A 150W-os tápegységem. Első körben kiment az 5 Amper-es biztosíték rajta. Betettem a helyére egy egy Amper-eset, de a hálózati kábel bedugásakor az is elszállt. Lehetséges hogy üresben a kábel bedugásakor egy Amper-nél többet vesz fel, vagy egy zárlat van még valahol? A tápra természetesen nem volt rádugva semmi.
-
.-..-.
tag
Így van.
Ha +12V-ot (vagy csak simán 12V-ot mutat, multi válogatja) akkor a piros mérőzsinórnál (esetedben V/Ohm) van a pozitív vezetéke az adapternek.
Hogy később ne legyen gond egy szétszerelésnél meg is jelölheted valahogy a vezetéket.
(Én speciel a GND-t szoktam megjelönni egy vezeték köré ragasztott fekete szigetelőszalag darabbal. És akkor a fekete a GND-t jelöli, ahogy megszoktam) -
coco2
őstag
válasz
.-..-.
#99695
üzenetére
Igen, hát, azoknak ott 12V mellett kell kb 16-180 mA ("N"-es példányok, adatlap szerint 720 ohm-os tekercs), szóval ilyen apró részleteket igazán leírhatsz a kérdés mellé. Nem mindegy, hogy 150 mA-t karsz, vagy 15-öt. Egy bármilyen bc182 vagy akármi amit a fiókban találsz elég oda 1 mA alatti bázisárammal a teljes kivezérléshez.
Új hozzászólás Aktív témák
- Mégis meglepi egy új GeForce-szal a rajongókat az NVIDIA?
- Apple MacBook
- exHWSW - Értünk mindenhez IS
- Anglia - élmények, tapasztalatok
- Amatőr csillagászat
- Milyen asztali (teljes vagy fél-) gépet vegyek?
- Okos Otthon / Smart Home
- Villanyszerelés
- Motorola Signature - mielőtt aláírnád...
- Hivatalos a OnePlus 13 startdátuma
- További aktív témák...
- Apple iPhone 17 Pro Cosmic Orange 256GB karcmentes 100% akku (49 ciklus) garancia 2026.12.29-ig
- Clevo 1060 6GB Mxm 3.1 laptop videó kártya ingyen házhoz szálitással
- Dell UltraSharp 24 USB-C Hub Monitor - U2422HE - 27% ÁFÁs
- BESZÁMÍTÁS! Asus Z170 Deluxe Z170 chipset alaplap garanciával hibátlan működéssel
- AZONNAL KÉSZLETRŐL! AMD Ryzen 7 9800X3D 64GB DDR5 RAM 2TB Gen4 SSD RTX 5090 32GB GDDR7 1200W
Állásajánlatok
Cég: Laptopműhely Bt.
Város: Budapest
már mozdításra is crashelt...
Engem meglepett.😅 
de az csak küldő DAC-hoz jó pl. hifizni+tölt...
ez az én másik hülyeségem, hogy kímélni szeretném a telefon usb c aljzatát...)






ekkold